业绩目标
1.业绩目标
1.1简要概述
1.2系统目标说明
说明 |
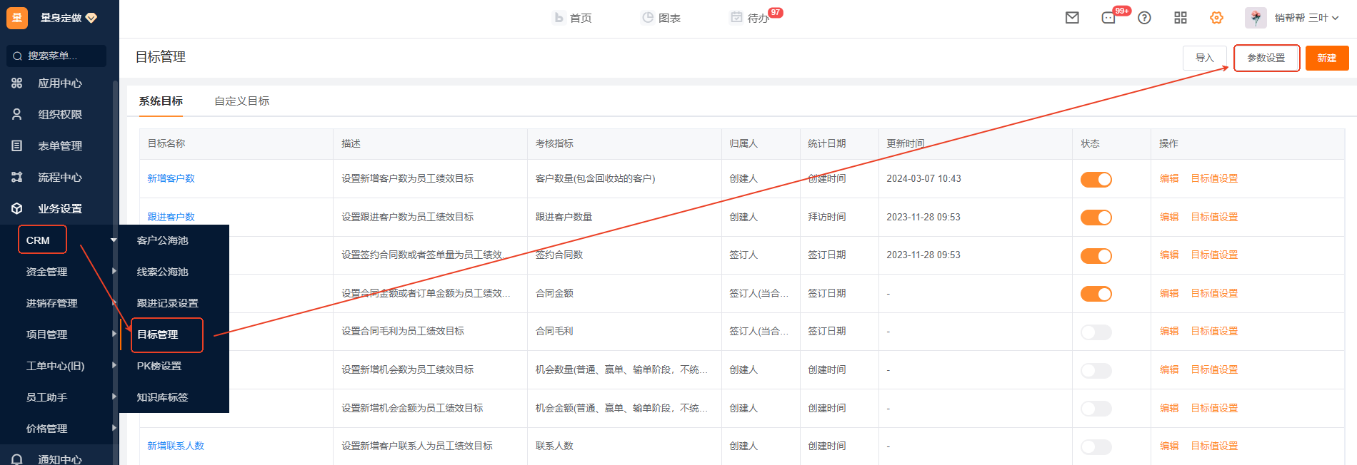
● 系统目标:系统默认提供的,完成额计算规则制定好的目标,当前有11个,存贮在tb_chart表。其中 ○ 金额类4个:合同金额,合同回款,新增机会金额,合同毛利。 ○ 小数值类1个:产品销量。 ○ 整数值类6个:签约合同数,新增客户数,新增联系人数,跟进次数,跟进客户数,新增机会数。 |
数据来源 |
系统目标 |
字段描述 |
● 合同回款:设置回款金额为员工绩效。 ● 产品销量:设置产品销售数量作为员工绩效目标。 ● 新增机会数:设置新增机会数为员工绩效目标 ● 跟进次数:设置客户跟进次数作为员工绩效目标。 ● 合同金额:设置合同金额或者订单金额为员工绩效目标。 ● 签约合同数:设置合同签约数或者签单量为员工的绩效目标。 ● 新增客户数:设置新增客户数为员工绩效目标。 ● 新增联系人数:设置新增联系人为员工绩效目标。 ● 跟进客户数:设置跟进客户数为员工绩效目标。 ● 新增机会金额:设置新增机会金额为员工绩效目标。 ● 合同毛利:设置合同毛利为员工绩效目标。 |
图表位置 |
● 管理中心 – 业务设置 -CRM-目标管理 |
1.3目标管理设置
描述 | 对系统目标的一些操作设置 |
字段描述 | ● 状态:打开开关,打开就相当于参与业绩目标的展示。 ● 财年:财年结束月份所在自然年份,即为财年年份。比如财年其实月份为2月份,则2022财年为:2021年2月至2022年1月。如果开启财年,当筛选全年、半年、季度时,则时间维度按照财年年份计算。 ● 目标状态:打开开关,打开就相当于参与业绩目标的展示。 ● 考核方式: ○ 动态数值型:每个目标在不同时间段的值不一致,基本通用于所有考核目标。 ○ 固定数值型:是指每个目标在不同时间段值都一致,适用于“跟进次数“等考核目标。 ● 一键汇总: 汇总规则: ○ 汇总该指标考核的下属员工在一财年内的指标值的和,作为其所在部门的目标值。 ○ 只汇总参与考核的下属员工指标值的和。 ○ 只为当前登录员工主管的部门汇总业绩。 |
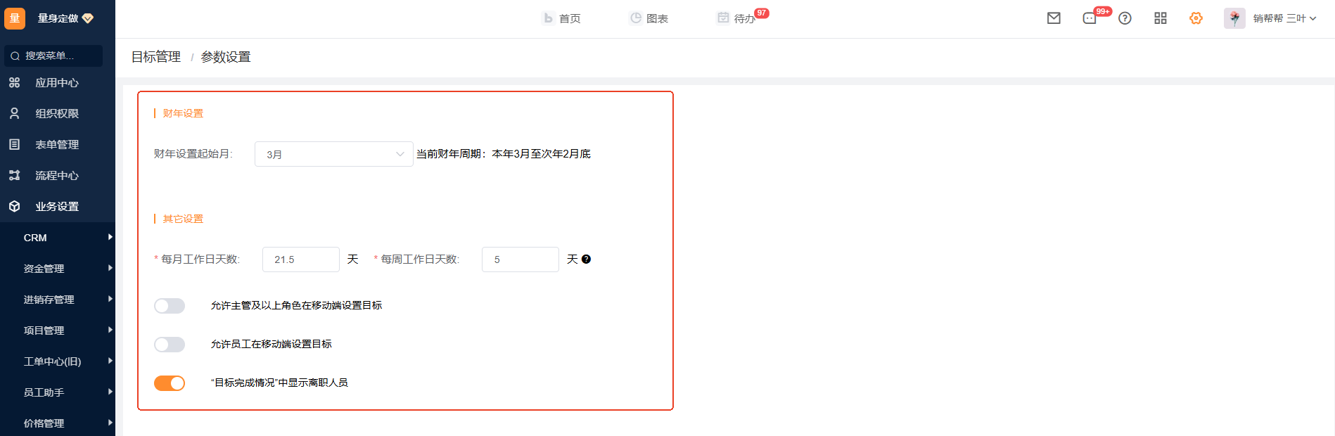
功能描述 | ● 导入:在哪种类型的目标下就导入哪种类型的数据(系统或者自定义)。 ● 参数设置: ○ 财年设置: ■ 财年设置起始月(当前财年周期:本年一月至本年底12月底)。 ○ 其他设置: ■ 每月工作天数和每周工作天数(用于计算目标值汇总,拆分参数)。 ■ 允许主管及以上角色在移动端设置目标(开关类型)。 ■ 允许员工在移动端设置目标(开关类型)。 ■ 当汇总部门目标,且考核方式为“固定数值型”时,包含离职人员(开关类型)。 ■ “目标完成情况”中显示离职人员(开关类型)。 ● 编辑: ○ 目标属性设置: ■ 考核对象 ■ 最小考核周期 ○ 设置目标值: ■ 导入。 ■ 手动输入。 ● 目标值设置: ○ 设置员工目标: 根据最小考核周期来设置目标值,可以进行平分到最小周期。当最小周期选择的是每天的时候,目标只能是固定数值型。 ○ 设置部门目标: 和员工目标设置的区别是有个一键汇总的操作。一键汇总是对公司部门(考核对象选中的部门)的目标进行汇总(不再只针对单个设置的部门,点击后求和部门内所有员工的的目标),一键汇总可以选择汇总离职员工目标,默认不勾选。并且汇总后将清除当前设定的值,会以系统计算的值为准。 |
功能位置:●管理中心 – 业务设置 -CRM-目标管理




1.4首页业绩目标
描述 | 对特定的业绩目标进行统计。 |
数据来源 | 系统指标开关打开着的业绩目标。 |
字段描述 | ● 完成值:按照业绩目标规则统计的用户/部门业绩,统计值即为该目标的完成额。 ● 目标值:在目标管理设置里面设置的需要完成的目标值。 ● 完成率:完成额/目标额的结果即为完成率,一般按照百分比展示。 ● 未完成值:目标值 – 完成值。 |

1.5图表中心目标的成就
描述 | 对特定的业绩目标进行统计。 |
数据来源 | 目标管理设置中开关打开着的目标。 |
字段描述 | ● 目标内容:在目标管理设置中打开开关,打开就相当于参与业绩目标的展示。 ● 完成值:按照业绩目标规则统计的用户/部门业绩,统计值即为该目标的完成额。 ● 完成率:完成额/目标额的结果即为完成率,一般按照百分比展示。 ● 注意:指标在设置中被编辑后,新的数据同步大约需要5分钟。 |
图表规则 | ● 计算方式: 求和(完成值和目标值)以及除法(完成率)。 ● 时间选择: 可以选择时间范围来统计员工或者部门业绩目标的完成情况。 ● 范围选择: 选择参与参与目标统计的员工或部门。 ● 数据格式: 可以选择单位展示。 |
